Loadcell YBSC 2 tấn là loại loadcell đĩa thường sử dụng trong các loại cân phễu, cân xilo,… Đây là loại loadcell chất lượng cao của hãng Keli, được Tân Phát nhập khẩu chính ngạch với đầy đủ CO, CQ cung cấp ra thị trường.

Thông số kỹ thuật Loadcell YBSC Keli 2 tấn
| Model | YBSC |
| Thương hiệu | Keli |
| Xuất xứ | Trung Quốc |
| Nơi cung cấp | Tân Phát |
| Tải trọng | 2 tấn |
| Điện trở đầu vào | 400±20Ω/750±10Ω |
| Điện trở đầu ra | 352±3Ω/702±3Ω |
| Độ dài dây dẫn | 6m |
| Cấp bảo vệ | IP68 |
| Quá tải an toàn | 150%FS |
| Quá tải phá hủy | 180%FS |
| Chất liệu | Thép không gỉ |
| Ứng dụng | Cân bồn, cân đóng bao, cân sàn điện tử, cân phễu, cân xilo, cân bàn,… |
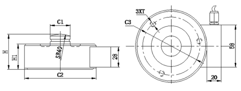
Bản vẽ cấu tạo

Tính năng nổi bật của loadcell YBSC Keli 2 tấn




*Xem cách lắp đặt và tính năng nổi bật của loadcell YBSC Keli tại đây >>> https://www.loadcellkeli.com/loadcell-ybsc-keli/
*Xem thêm Loadcell YBSC 5 tấn tại đây >>> https://thietbidien88.com/loadcell-ybsc
*Xem thêm các loại Loadcell khác do Tân Phát cung cấp tại đây >>> https://www.loadcellkeli.com/products/
Liên hệ báo giá:
CÔNG TY CỔ PHẦN CÔNG NGHỆ TỰ ĐỘNG TÂN PHÁT
– Địa chỉ: VT32, LK4, KĐT Đại Thanh, Tả Thanh Oai, Thanh Trì, Hà Nội
– Hotline: 0963 966 866
– Email: tudonghoa88@gmail.com